Magna Concursos
443123 Ano: 2018
Disciplina: Arquitetura
Banca: UFC
Orgão: UFC
Provas:

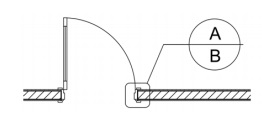
Na marcação de detalhamento abaixo, segundo a NBR 6492, os campos A e B referem-se respectivamente a(o):

enunciado 443123-1

 

Provas

Questão presente nas seguintes provas

Arquiteto e Urbanista

50 Questões