- FundamentosGrandezas e Unidades
- Mecânica ClássicaCinemáticaFundamentos da Cinemática
- Mecânica ClássicaCinemáticaCinemática VetorialVetores
- Mecânica ClássicaDinâmicaLeis de Newton
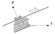
A figura a seguir ilustra um veículo tracionado por uma força T e
sendo sustentado por um cabo.

Sabendo que o veículo pesa 1,0 kN e que a força P resistida pelo cabo é de 2,0 kN, a aceleração imposta ao veículo na direção do cabo, assumindo que a aceleração da gravidade é de 10 m/s2, vale:

Sabendo que o veículo pesa 1,0 kN e que a força P resistida pelo cabo é de 2,0 kN, a aceleração imposta ao veículo na direção do cabo, assumindo que a aceleração da gravidade é de 10 m/s2, vale:
Provas
Questão presente nas seguintes provas