Magna Concursos
881922 Ano: 2019
Disciplina: Engenharia Metalúrgica
Banca: UFMG
Orgão: UFMG
Provas:
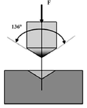
O método de ensaio de dureza consiste em um penetrador de diamante, com formato piramidal quadrado e ângulos entre as faces opostas igual a 136º , como ilustrado no esquema abaixo: enunciado 881922-1 Trata-se do método

 

Provas

Questão presente nas seguintes provas

Técnico em Metalurgia

45 Questões