Magna Concursos
405504 Ano: 2017
Disciplina: Engenharia Eletrônica
Banca: IFB
Orgão: IFB

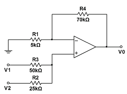
Utilizando superposição e considerando o Amp, Op. Ideal, calcule V0 em função de V1 e V2 no circuito da figura a seguir

Enunciado 405504-1

 

Provas

Questão presente nas seguintes provas

Professor PEBTT - Engenharia Elétrica

50 Questões