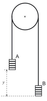
O texto e a imagem abaixo refere-se à questão
A máquina de Atwood é utilizada para determinar, experimentalmente,
o valor do campo gravitacional (g).
Um cronômetro digital registra o intervalo de tempo para que
os conjuntos A e B percorram a distância y a partir das posições
representadas na figura.
A massa total do conjunto é mantida constante, mas são realizados
diferentes ensaios ao variar a diferença entre as massas dos conjuntos
A e B.

Provas
Questão presente nas seguintes provas