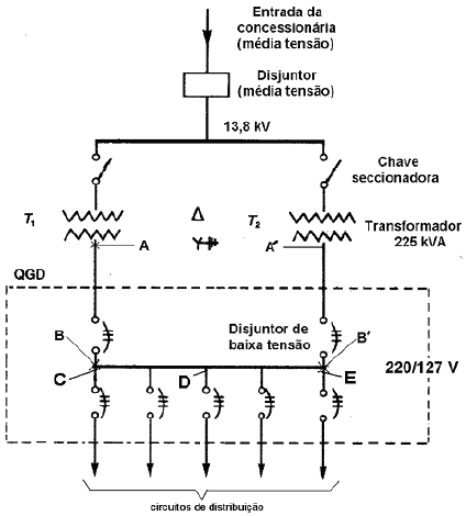
A figura abaixo mostra o diagrama unifilar da Subestação de entrada de uma unidade consumidora atendida em média tensão.

Dados:
- Potência de cada transformador: 225 kVA (os dois transformadores são iguais)
- Tensão primária (MT): 13,8 kV
- Tensão secundária (BT): 220/127 V
- Impedância percentual do trafo (Z): 5%
- Conexão do trafo: !$ \Delta - Y !$ aterrado
- IN: 590,5 A (corrente nominal do transformador, lado BT)
- Os pontos C, D (centro do barramento) e E estão nos circuitos de distribuição, próximos ao barramento. Desconsiderar as impedâncias entre o barramento e esses pontos.
Resistência e reatância
| R [m!$ \Omega !$] | X [m!$ \Omega !$] | |
| Transformador | 2,15 | 10,5 |
| Cabos (A-B) | 0,35 | 1,0 |
| Cabos (A'-B') | 0,35 | 1,0 |
| Barramento (B-B') | 0,2 | 0,7 |
Considerando a possibilidade de ocorrência de curto-circuito nos pontos C, D e E, assinalados no diagrama, e desprezando a impedância do lado de média tensão, o módulo da corrente de curto-circuito trifásica simétrica presumida