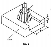
Durante os processos de fabricação muitas variáveis são levadas em consideração, tais como as grandezas profundidade/largura de corte (ap) e espessura/penetração (ae). Observe a imgem.


A alternativa que representa os dois tipos de processo listados nas figuras 1 e 2 respectivamente é: