Magna Concursos
Questões
Planos
Entrar
Entrar
Criar Conta
Respondida
2724059
Ano:
2023
Disciplina:
Engenharia Eletrônica
Banca:
FUNDATEC
Orgão:
GHC
Provas:
Técnico em Eletrônica
Provas
×
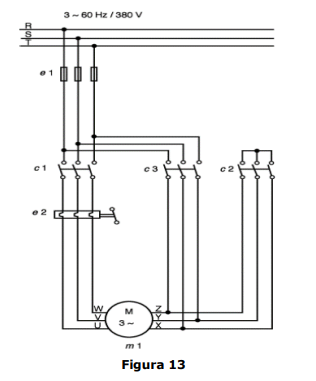
A Figura 13 apresenta um diagrama de ligação de um tipo de partida de motor trifásico. Trata-se de uma ligação de partida:
A
Direta, partida com a tensão de abastecimento.
B
Por rotor de anéis.
C
Estrela-triângulo.
D
Por chaveamento acoplado.
E
Com autotransformador.
Resolver
Comentários
0
×
Cadernos
×
Flashcards
×
Estatísticas
×
Reportar um erro
×
Provas
Questão presente nas seguintes provas
Técnico em Eletrônica
50 Questões
Resolver Prova
Publicar
Responder
Qual o problema da questão?
Selecione uma opção
Questão Desatualizada
Questão Repetida
Gabarito Errado
Outros Motivos
Mensagem
Enviar
Acessar
Criar Conta
Acesse sua Conta
Google
Facebook
Esqueci minha senha
Acessar
Ainda não tem conta?
Crie uma
!
Crie uma Conta
Criar Conta
Olá, para continuar, precisamos criar uma conta!
É
rápido
e
grátis
.
Google
Facebook
Concordo com os
Termos de Uso
Criar
Já tem uma conta?
Acesse aqui