Magna Concursos
1132873 Ano: 2017
Disciplina: Engenharia Civil
Banca: UFG
Orgão: IF-Goiano

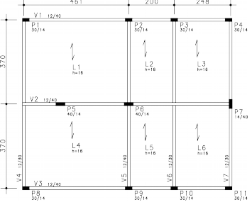
A figura a seguir corresponde à planta de fôrma do pavimento térreo de uma edificação. A questão refere-se a ela.

Enunciado 1132873-1

Com base nos dados da planta, o vão livre l0 , em metros, do primeiro tramo da viga V5, é de
 

Provas

Questão presente nas seguintes provas

Técnico de Laboratório - Edificações

50 Questões