
(Solon de Medeiros Filho. Medição de energia elétrica.
3ª ed. Rio de Janeiro: Guanabara, 1986, p. 266, com adaptações)
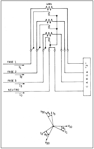
A figura acima mostra uma carga trifásica “Z” alimentada a quatro fios por uma fonte trifásica equilibrada com sua respectiva medição de energia elétrica, realizada por meio de um medidor do tipo indução de três elementos, e o diagrama fasorial correspondente à situação descrita. A respeito dessa situação, assinale a opção incorreta.