Magna Concursos
Questões
Planos
Entrar
Entrar
Criar Conta
Respondida
3468448
Ano:
2024
Disciplina:
Mecânica
Banca:
UFU
Orgão:
UFU
Provas:
Técnico de Laboratório - Eletromecânica
Provas
×
Processos de Fabricação Mecânica
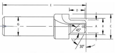
Considere o desenho de uma ferramenta na figura abaixo cuja parte cortante é indicada pela cota D. Assinale a alternativa
INCORRETA
.
A
30º representa o raio de arredondamento da ponta.
B
G é a cota do diâmetro da haste da ferramenta.
C
O sistema de cotagem é do tipo paralelo.
D
As linhas de chamada delimitam o comprimento da linha de cota.
Resolver
Comentários
0
×
Cadernos
×
Flashcards
×
Estatísticas
×
Reportar um erro
×
Provas
Questão presente nas seguintes provas
Técnico de Laboratório - Eletromecânica
40 Questões
Resolver Prova
Publicar
Responder
Qual o problema da questão?
Selecione uma opção
Questão Desatualizada
Questão Repetida
Gabarito Errado
Outros Motivos
Mensagem
Enviar
Acessar
Criar Conta
Acesse sua Conta
Google
Facebook
Esqueci minha senha
Acessar
Ainda não tem conta?
Crie uma
!
Crie uma Conta
Criar Conta
Olá, para continuar, precisamos criar uma conta!
É
rápido
e
grátis
.
Google
Facebook
Concordo com os
Termos de Uso
Criar
Já tem uma conta?
Acesse aqui