Magna Concursos
Questões
Planos
Entrar
Entrar
Criar Conta
Respondida
3199517
Ano:
2024
Disciplina:
Engenharia Mecânica
Banca:
CESPE / CEBRASPE
Orgão:
LNA
Provas:
Tecnologista - Projetos Mecânicos
Provas
×
Materiais de Construção Mecânica
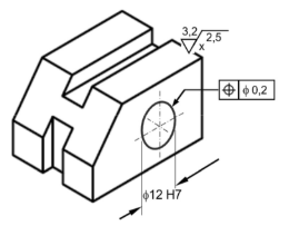
Figura 3A2
Na figura 3A2, o símbolo
mostrado em relação ao furo na peça representa uma tolerância
A
geométrica para a planicidade da superfície do furo, que não deve ser menor que 0,2 mm.
B
dimensional para o diâmetro do furo, que deve estar dentro de ± 0,2 mm.
C
geométrica para a posição do centro do furo, que deve estar contido em uma circunferência de raio 0,1 mm.
D
dimensional para o raio do furo, que deve estar dentro de ± 0,2 mm.
E
geométrica para a circularidade do furo, tal que a diferença de dois diâmetros medidos em dois diâmetros defasados de 90° não deve superar 0,2 mm.
Resolver
Comentários
0
×
Cadernos
×
Flashcards
×
Estatísticas
×
Reportar um erro
×
Provas
Questão presente nas seguintes provas
Tecnologista - Projetos Mecânicos
50 Questões
Resolver Prova
Publicar
Responder
Qual o problema da questão?
Selecione uma opção
Questão Desatualizada
Questão Repetida
Gabarito Errado
Outros Motivos
Mensagem
Enviar
Acessar
Criar Conta
Acesse sua Conta
Google
Facebook
Esqueci minha senha
Acessar
Ainda não tem conta?
Crie uma
!
Crie uma Conta
Criar Conta
Olá, para continuar, precisamos criar uma conta!
É
rápido
e
grátis
.
Google
Facebook
Concordo com os
Termos de Uso
Criar
Já tem uma conta?
Acesse aqui