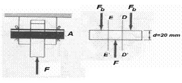
Responda à questão de número 43 após a análise da figura abaixo, que representa uma seção de uma barra conectada a uma base através de um rebite.

Sabendo que o diâmetro do rebite é de 20 mm e a tensão de cisalhamento média, em MPa, no rebite é de 160 / p, a máxima força F , em kN, que pode ser aplicada na barra é de: