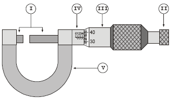
Os números I, II, III, IV e V, indicam, respectivamente,
prensas; parafuso; escala giratória; escala fixa; curva.
esperas; catraca; tambor; escala retilínea; arco.
alicate; fixador; visor micrométrico; escala centimétrica; corpo.
haste; trava; anel rodante; corpo; estribo.
profundímetro; gatilho; anel rodante; corpo; estribo.
Olá, para continuar, precisamos criar uma conta! É rápido e grátis.