Magna Concursos
Questões
Planos
Entrar
Entrar
Criar Conta
Respondida
263410
Ano:
2013
Disciplina:
Engenharia Mecânica
Banca:
CESGRANRIO
Orgão:
Liquigás
Provas:
Engenheiro Mecânico Jr
Provas
×
Planejamento e Informatização na Engenharia
Processos, Softwares e Automatização
Sistemas Mecânicos
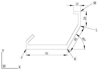
A representação da peça apresentada na Figura acima foi desenhada no AutoCAD. Nela, todas as dimensões lineares estão em milímetros, e as angulares, em graus.
Usando o comando LINE, a sequência correta para desenhar o contorno JKLM é
A
0,0 @0,70 @45<60 @0,25
B
0,0 @0,70 @60<45 @0,25
C
0,0 @70,0 @45<60 @0,25
D
@0,0 @70,0 @45<60 @25,0
E
@0,0 @70,0 @60<45 @25,0
Resolver
Comentários
0
×
Cadernos
×
Flashcards
×
Estatísticas
×
Reportar um erro
×
Provas
Questão presente nas seguintes provas
Engenheiro Mecânico Jr
70 Questões
Resolver Prova
Publicar
Responder
Qual o problema da questão?
Selecione uma opção
Questão Desatualizada
Questão Repetida
Gabarito Errado
Outros Motivos
Mensagem
Enviar
Acessar
Criar Conta
Acesse sua Conta
Google
Facebook
Esqueci minha senha
Acessar
Ainda não tem conta?
Crie uma
!
Crie uma Conta
Criar Conta
Olá, para continuar, precisamos criar uma conta!
É
rápido
e
grátis
.
Google
Facebook
Concordo com os
Termos de Uso
Criar
Já tem uma conta?
Acesse aqui