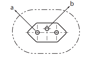
Em instalações elétricas, os plugues e tomadas para uso doméstico são padronizados e os bornes possuem posições específicas em relação aos cabos, conforme representação esquemática abaixo.

As identificações acima a e b estão relacionadas, respectivamente, aos cabos:
Provas
Questão presente nas seguintes provas