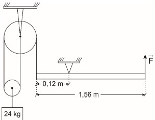
Com relação ao sistema mostrado na figura, a alavanca e a roldana móvel têm pesos desprezíveis, são também desprezíveis os atritos no eixo da roldana fixa e os fios são ideais.

Considere g=10 m/s2. O módulo da força vertical \( \vec{F} \) capaz de manter o sistema em equilíbrio com a alavanca na horizontal é