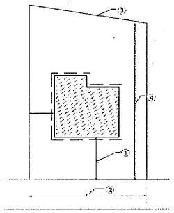
Analise a figura a seguir.

Assinale a opção que apresenta corretamente os elementos destacados na figura apresentada.
Provas
Questão presente nas seguintes provas
Analise a figura a seguir.

Assinale a opção que apresenta corretamente os elementos destacados na figura apresentada.