Magna Concursos
2997303 Ano: 2023
Disciplina: Engenharia Civil
Banca: CESGRANRIO
Orgão: Transpetro
Provas:
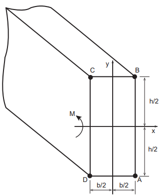
Uma viga de seção transversal retangular de dimensões b x h é submetida a um momento fletor M, conforme indicado na Figura.


Enunciado 3399375-1



A tensão normal compressiva máxima na seção mostrada atuará no(s) ponto(s)
 

Provas

Questão presente nas seguintes provas

Técnico de Dutos

60 Questões