Magna Concursos
1130975 Ano: 2015
Disciplina: Química
Banca: UFRN
Orgão: UFRN

Considere

Ka do CH3COOH igual a 1,75x10-5 e

Kb do NH4OH igual a 1,78x10-5

enunciado 1130975-1

enunciado 1130975-2

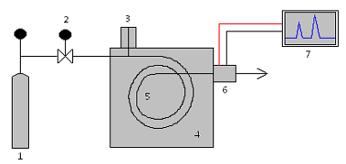
Os dispositivos indicados pelos números 2, 4 e 6 são, respectivamente,
 

Provas

Questão presente nas seguintes provas

Técnico de Laboratório - Química

50 Questões