Magna Concursos
Questões
Planos
Entrar
Entrar
Criar Conta
Respondida
2721212
Ano:
2023
Disciplina:
Engenharia Civil
Banca:
IADES
Orgão:
SEEC-DF
Provas:
Auditor de Atividades Urbanas - Obras e Edificações
Provas
×
Desenho Técnico na Engenharia Civil
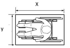
Tendo em vista o módulo de referência em projeção ocupada por uma pessoa utilizando cadeira de rodas motorizada ou não, as medidas x e y, em metros, são, respectivamente,
A
1,20; 0,80.
B
1,30; 0,80.
C
1,20; 0,85.
D
1,20; 0,90.
E
1,30; 0,90.
Resolver
Comentários
0
×
Cadernos
×
Flashcards
×
Estatísticas
×
Reportar um erro
×
Provas
Questão presente nas seguintes provas
Auditor de Atividades Urbanas - Obras e Edificações
60 Questões
Resolver Prova
Publicar
Responder
Qual o problema da questão?
Selecione uma opção
Questão Desatualizada
Questão Repetida
Gabarito Errado
Outros Motivos
Mensagem
Enviar
Acessar
Criar Conta
Acesse sua Conta
Google
Facebook
Esqueci minha senha
Acessar
Ainda não tem conta?
Crie uma
!
Crie uma Conta
Criar Conta
Olá, para continuar, precisamos criar uma conta!
É
rápido
e
grátis
.
Google
Facebook
Concordo com os
Termos de Uso
Criar
Já tem uma conta?
Acesse aqui