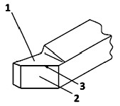
Os ângulos e superfícies de uma ferramenta de corte têm grande importância nos processos de usinagem, pois influenciam nas forças envolvidas e no acabamento. Observe a figura que representa uma ferramenta de corte.

A definição correta dos pontos indicados como 1, 2 e 3 são, respectivamente,