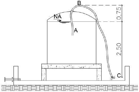
A fim de coletar um pouco de água de um reservatório, utilizou-se sifão, retirando o ar de uma tubulação flexível até estabelecer condições de escoamento, de “A” para “C”, por força da pressão atmosférica. Ver configuração ilustrativa do sistema abaixo. Admita que a perda de carga no trecho AB e BC é de 0,25 m e 0,75 m, respectivamente. (Considere aceleração da gravidade 10,0 m/s²)

A velocidade em “C”, em m/s, é: