A figura a seguir ilustra uma seção em corte de um terreno, muito comum em projetos arquitetônicos:

Pode-se afirmar que os itens da figura numerados como 02, 05 e 06, denominam-se como:
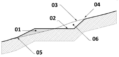
A figura a seguir ilustra uma seção em corte de um terreno, muito comum em projetos arquitetônicos:

Pode-se afirmar que os itens da figura numerados como 02, 05 e 06, denominam-se como: