
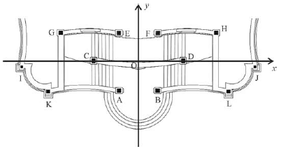
Na figura acima, extraída do texto Congonhas do Campo, de Robert C. Smith e Marcel Gautherot, um sistema de coordenadas cartesianas ortogonais xOy indica as posições das doze estátuas dos profetas esculpidas por Aleijadinho na entrada do santuário Bom Jesus de Matosinhos. As estátuas, identificadas pelas letras de A a L, estão dispostas simetricamente em relação ao eixo Oy e, na figura, também estão representados as escadarias e o adro em frente ao santuário. Na tabela a seguir, cada um dos pontos de A a L está associado à estátua de um profeta e são apresentadas as coordenadas de alguns desses pontos no plano xOy.

A partir dessas informações, desconsiderando as dimensões das esculturas e assumindo que todas estejam no mesmo plano horizontal, julgue o item a seguir.
É igual a 7,5 unidades a área do triângulo de vértices nos pontos correspondentes às estátuas de Ezequiel, Oseias e Joel.