
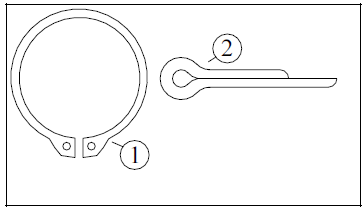
Na figura acima, o elemento de máquina 1 é fabricado em aço-mola e tem a forma circunferencial incompleta, e o elemento 2 é um arame de seção semicircular dobrado de forma a obter-se um corpo cilíndrico e uma cabeça. Com relação ao uso e à nomenclatura desses elementos, julgue o seguinte item.
O elemento
é um anel elástico que, ao se alojar em um canal, serve para impedir o deslocamento axial, posicionar ou limitar o curso de uma peça deslizante sobre um eixo.