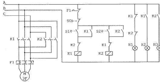
Observe a figura a seguir.

A figura acima representa um diagrama de força e comando de um motor de indução trifásico com três terminais acessíveis. Assinale a opção que corresponde ao tipo de chave representada no diagrama acima.
Provas
Questão presente nas seguintes provas