Magna Concursos
2400595 Ano: 2010
Disciplina: Engenharia Mecânica
Banca: UFSCAR
Orgão: UFSCAR
Provas:

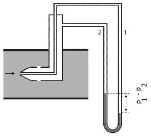
Analise a figura abaixo e assinale a resposta CORRETA:

Enunciado 2944933-1

 

Provas

Questão presente nas seguintes provas

Engenheiro Mecânico

60 Questões