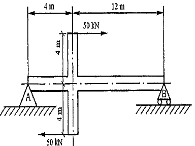
Analise a figura abaixo.

Considerando que a viga representada na figura acima se encontra em equilíbrio, calcule as reações nos apoios A e B para a viga solicitada por forças paralelas com sentidos opostos e assinale a opção correta.
Provas
Questão presente nas seguintes provas
Quadro Técnico de Praças da Armada - Mecânica
50 Questões