Magna Concursos
644306 Ano: 2017
Disciplina: Engenharia Elétrica
Banca: Col. Pedro II
Orgão: Col. Pedro II
Provas:

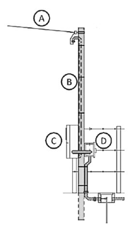
Considere a figura a seguir, que apresenta a entrada de energia em uma instalação elétrica:

Enunciado 644306-1

As terminologias de fornecimento em baixa tensão corretas para os quatro pontos A, B, C e D são, respectivamente,
 

Provas

Questão presente nas seguintes provas

Engenheiro Eletricista

70 Questões