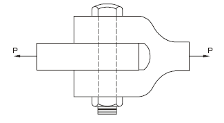
A ligação da figura está unida por um parafuso com diâmetro de 20 mm e submetida a uma força de tração P = 31,42 kN.

Nessas condições, a tensão de cisalhamento no parafuso é
Provas
Questão presente nas seguintes provas
Analista do Ministério Público - Engenharia Civil
100 Questões