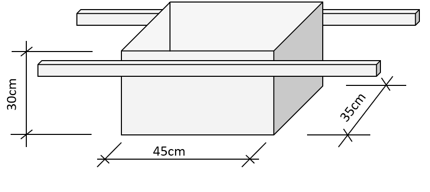
Considere as medidas apresentadas como medidas internas, já descontando a espessura do material e assinale a alternativa correta quanto ao volume da padiola representada na figura abaixo.

Considere as medidas apresentadas como medidas internas, já descontando a espessura do material e assinale a alternativa correta quanto ao volume da padiola representada na figura abaixo.
