3578340
Ano: 2023
Disciplina: Segurança e Saúde no Trabalho (SST)
Banca: SELECON
Orgão: Pref. Primavera Leste-MT
Disciplina: Segurança e Saúde no Trabalho (SST)
Banca: SELECON
Orgão: Pref. Primavera Leste-MT
Provas:
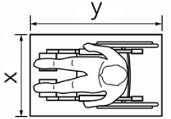
Observe a imagem a seguir, referente a um módulo de referência indicado na ABNT NBR 9050/2021.

Fonte: ABNT NBR 9050 (2021), editado.
As medidas [x] e [y] são, respectivamente: