Magna Concursos
2329147 Ano: 2022
Disciplina: Engenharia Mecânica
Banca: FEPESE
Orgão: CASAN-SC
Provas:

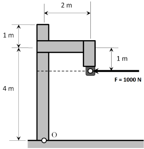
Analise a figura abaixo:

Enunciado 3492755-1

O momento Mo da força F com relação ao ponto O na figura é de:

 

Provas

Questão presente nas seguintes provas

Técnico de Mecânica

50 Questões