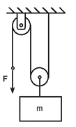
Uma carga de massa m = 200 kg é içada por meio de um sistema de roldanas, conforme mostrado na Figura abaixo.

Sabendo-se que a força F aplicada ao cabo vale 1,5 kN, e considerando-se g = 10m/s2 , a aceleração da carga, em m/s2 , será de
Uma carga de massa m = 200 kg é içada por meio de um sistema de roldanas, conforme mostrado na Figura abaixo.

Sabendo-se que a força F aplicada ao cabo vale 1,5 kN, e considerando-se g = 10m/s2 , a aceleração da carga, em m/s2 , será de