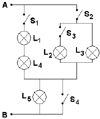
O diagrama da figura representa uma combinação de ligações de lâmpadas com vários interruptores. Todas as lâmpadas são de 40 W e 127 V. Os terminais A e B dessa combinação são ligados a uma tensão de 220 V. Considere que todos os interruptores estão abertos.
Qual combinação submeterá pelo menos uma lâmpada a uma tensão fora das especificações?
