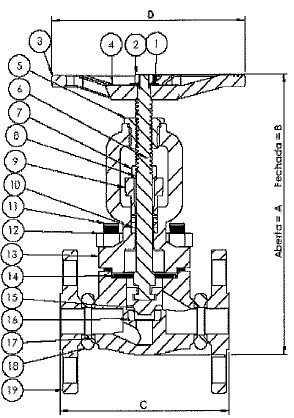
Observe a válvula globo a seguir.

Os componentes denominados sede e volante estão indicados acima, respectivamente, pelos números
Observe a válvula globo a seguir.

Os componentes denominados sede e volante estão indicados acima, respectivamente, pelos números