
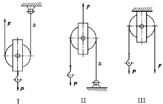
A figura acima mostra três configurações de polia móvel e uma de polia fixa para elevação da carga P. Considerando que F é o valor da força de tração aplicada ao cabo e S, a tração no cabo, julgue o item a seguir.
Na configuração II, a velocidade do ponto do cabo em que a força for aplicada é igual à velocidade de elevação da carga.
Provas
Questão presente nas seguintes provas
Pesquisador do Inmetro - Engenharia Mecânica
120 Questões