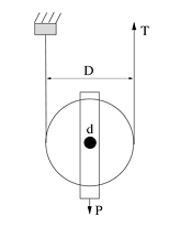
Na figura a seguir o coeficiente de atrito dinâmico entre o pino, de diâmetro d, e a polia, de diâmetro D, é µ. A tração T necessária para elevar uma carga que exerce uma força P é igual a

Provas
Questão presente nas seguintes provas
Na figura a seguir o coeficiente de atrito dinâmico entre o pino, de diâmetro d, e a polia, de diâmetro D, é µ. A tração T necessária para elevar uma carga que exerce uma força P é igual a
