Magna Concursos
Questões
Planos
Entrar
Entrar
Criar Conta
Respondida
1237715
Ano:
2010
Disciplina:
Engenharia Civil
Banca:
UFPR
Orgão:
Pref. Curitiba-PR
Provas:
Engenheiro Civil
Provas
×
Instalações em Engenharia Civil
Instalação Elétrica
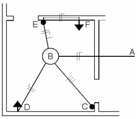
O esquema ao lado representa a instalação elétrica de um cômodo de uma residência. Assinale a alternativa correspondente ao trecho que se encontra
INCORRETO.
A
Trecho A-B.
B
Trecho B-C
C
Trecho B-D.
D
Trecho B-E.
E
Trecho E-F.
Resolver
Comentários
0
×
Cadernos
×
Flashcards
×
Estatísticas
×
Reportar um erro
×
Provas
Questão presente nas seguintes provas
Engenheiro Civil
80 Questões
Resolver Prova
Publicar
Responder
Qual o problema da questão?
Selecione uma opção
Questão Desatualizada
Questão Repetida
Gabarito Errado
Outros Motivos
Mensagem
Enviar
Acessar
Criar Conta
Acesse sua Conta
Google
Facebook
Esqueci minha senha
Acessar
Ainda não tem conta?
Crie uma
!
Crie uma Conta
Criar Conta
Olá, para continuar, precisamos criar uma conta!
É
rápido
e
grátis
.
Google
Facebook
Concordo com os
Termos de Uso
Criar
Já tem uma conta?
Acesse aqui