
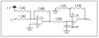
A figura acima mostra o diagrama de um circuito eletrônico em que a entrada é representada pela tensão ve e a saída, pela tensão vs. Com relação a esse circuito, e considerando que todos os componentes são ideais, julgue os itens seguintes.
Se o sinal de entrada ve for conectado ao terra, em estado permanente a tensão de saída vs será igual a -2 V.
Provas
Questão presente nas seguintes provas