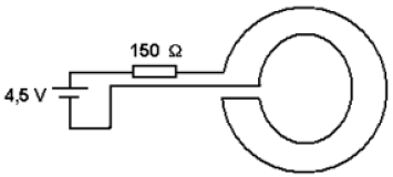
Duas espiras concêntricas e coplanares de raios 10 mm e 20 mm, são construídas de condutores ideais e ligados à uma bateria, conforme a figura.
Supondo que esse experimento seja realizado no vácuo, calcule a intensidade do campo magnético no centro das espiras. Adote nesse caso, !$ \mu_0 \, = \, 4\pi \, . \, 10 ^-7 \, T.m/A. !$

Provas
Questão presente nas seguintes provas
CFS - Aeronavegantes e Não-Aeronavegantes
100 Questões
CFS - Controle de Tráfego Aéreo
100 Questões