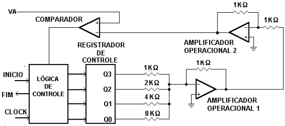
A figura abaixo apresenta um diagrama simplificado de um conversor A/D de aproximações sucessivas. A tensão analógica de entrada é VA e a saída digital é representada pelos bits Q3, Q2, Q1 e Q0, sendo Q3 o bit mais significativo. Para cada bit, o nível lógico ‘0’ é 0 volts e o nível lógico ‘1’ é +5 volts.

Os respectivos valores da saída digital para as tensões de entrada de 8,4 V; 5,8 V e 2,9 V são: