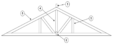
A figura abaixo representa a seção típica de uma estrutura de telhado de madeira (tesoura). A nomenclatura CORRETA da peça aparece em:

A figura abaixo representa a seção típica de uma estrutura de telhado de madeira (tesoura). A nomenclatura CORRETA da peça aparece em:
