1351938
Ano: 2012
Disciplina: Engenharia Civil
Banca: Asconprev
Orgão: Pref. Lagoa Grande-PE
Disciplina: Engenharia Civil
Banca: Asconprev
Orgão: Pref. Lagoa Grande-PE
Provas:
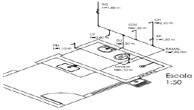
Qual projeto de instalações, o desenho abaixo está representando?
