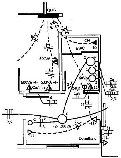
A figura mostra uma planta baixa parcial de uma instalação elétrica de baixa tensão, na qual estão representados os elementos, dispositivos e acessórios projetados ou representativos de uma instalação já executada.

Em relação à representação simbólica, que segue a norma associada a instalações elétricas prediais, assinale a afirmativa correta.