Magna Concursos
2947471 Ano: 2023
Disciplina: Mecânica
Banca: UFMG
Orgão: UFMG
Provas:
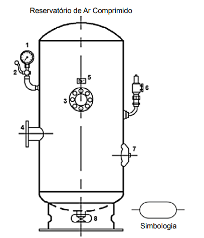
Num sistema pneumático, o reservatório de ar comprimido desempenha grandes funções junto a todo o processo de produção. Em geral, o reservatório possui as seguintes funções: armazenar o ar comprimido; resfriar o ar, auxiliando a eliminação do condensado; compensar as flutuações de pressão em todo o sistema de distribuição; estabilizar o fluxo de ar; controlar as marchas dos compressores etc. No Brasil, os reservatórios de ar comprimido seguem a especificação, conforme a norma PNB 109 da A.B.N.T, a qual recomenda que, para a instalação, os reservatórios devem ser afixados, de modo que todos os drenos, as conexões e as aberturas de inspeção sejam facilmente acessíveis.
Observe a imagem a seguir:


Enunciado 2947471-1


De acordo com as numerações indicadas nesse desenho, a correlação correta é:
 

Provas

Questão presente nas seguintes provas

Técnico de Mecânica

35 Questões