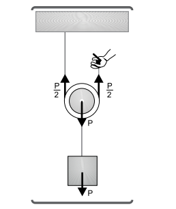
Se a intensidade do peso do motor elétrico é P, como
mostrado na figura, para equilibrá-lo é necessário aplicar, na extremidade direita da corda, uma força com a
sua mão P/2, porque os outros P/2 estão aplicados no
teto, onde está presa a extremidade esquerda da corda.
ou seja, usando uma polia móvel consegue-se diminuir a
intensidade da força, mas, em relação ao deslocamento
do motor, é correto afirmar:

