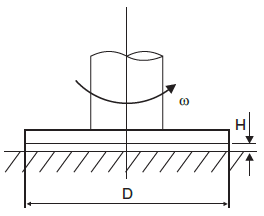
A figura abaixo representa um modelo de viscosímetro. Nesse dispositivo, o disco de diâmetro D é mantido a uma distância fixa H do suporte. O propósito do dispositivo é medir a viscosidade dinâmica de um fluido, !$ pi !$, que preenche o espaço entre o disco e o suporte, por meio da medida do torque necessário para manter o disco com velocidade angular !$ omega !$ constante.

Despreze o atrito do dispositivo, por exceção do viscoso, e suponha que o escoamento do fluido sob o suporte se encontra em regime permanente. O torque sob o viscosímetro e a unidade de medida da viscosidade dinâmica são, respectivamente,