
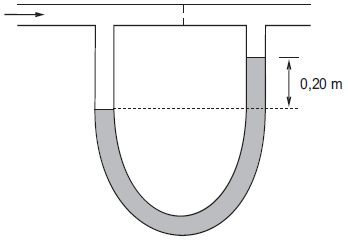
O esquema acima indica um manômetro de água empregado para medir a diferença de pressão entre 2 pontos de uma tubulação que transporta uma mistura de hidrocarbonetos !$ (\rho_H = 800 kg/m^3) !$. A diferença de pressão indicada, em KPa, é igual a

O esquema acima indica um manômetro de água empregado para medir a diferença de pressão entre 2 pontos de uma tubulação que transporta uma mistura de hidrocarbonetos !$ (\rho_H = 800 kg/m^3) !$. A diferença de pressão indicada, em KPa, é igual a